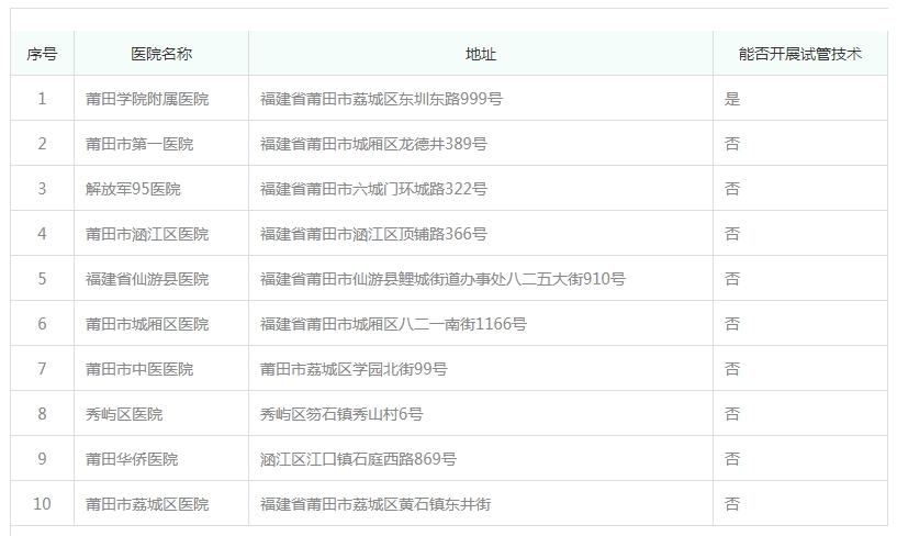
目前,莆田能进行试管婴儿的医院数量有限,其中仅莆田学院附属医院具备试管婴儿技术的开展资质。这家医院在很大程度上代表着莆田市试管婴儿技术的水平。可以说,莆田的试管婴儿技术表现不俗。目前,该医院可开展的准入技术包括夫精人工授精技术、常规体外受精-胚胎移植技术、以及卵胞浆内单精子显微注射技术。这些试管婴儿技术基本能够满足大部分不孕不育家庭的生殖需求,大家可以根据自身实际情况进行选择。


检查费用:在进行试管婴儿前,夫妇双方需要进行一系列的检查,以评估生育能力和身体状况。这些检查费用通常在2000-5000元之间。
药物费用:试管婴儿过程中需要使用一定的药物来促进卵泡发育和排卵。药物费用因个人情况和用药方案而异,一般在5000-15000元之间。
手术费用:试管婴儿手术包括取卵、受精、胚胎培养和移植等步骤。手术费用因医院和医生的不同而有所差异,一般在10000-30000元之间。在莆田地区做试管婴儿的费用因多种因素而异,一般在30000-100000元之间,如果是做三代试管的话费用也会更高。为了降低费用,夫妇双方应选择合适的医院和医生,提前做好检查和准备,并遵循医生的建议和指导。